Overview
Within This Page
The Enhanced Office space type primarily refers to ancillary offices, jury facilities, and other spaces attached to courtrooms such as the Judge's Conference Room, Judge's Robing Room, News Media Room, Service Unit, Private Toilet, and Equipment Storage, but excluding the Courtroom Public Entrance Soundlock. In addition, the Enhanced Office space type includes the office, storage, and workspace for the Court Reporter/Recorder, Deputy Courtroom Clerk, and Transcriber/Typist located at the court set by the courtrooms; and Jury Facilities including Jury Assembly Spaces, Trial Jury Suite, and spaces within the Grand Jury Suite, except for the Grand Jury Hearing Room. In order to comply with court-related standards, Private Toilets, Conference Rooms, and Service Units are included in the Enhanced Office space type rather than as separate space types. See also WBDG Federal Courthouse.
Office in the Harris County Courthouse, which dates to 1910. Photo Credit: Nash Baker
Space Attributes
Enhanced Office space types can be differentiated from more general office space types because of increased attention to security and acoustical separations, and a high level of finishes in Judge and Jury areas. Typical features of courtroom enhanced office space types include the list of applicable design objectives elements as outlined below. For a complete list and definitions of the design objectives within the context of whole building design, click on the titles below.
Accessible
- Private work areas must be adaptable to accessibility. It is recommended that private work areas be made accessible during initial design and construction to avoid more expensive alterations for accessibility in the future. Additionally, spaces should be designed with flexibility in mind to accommodate changing needs of the staff or users of the spaces.
Aesthetics
- Finishes: Enhanced Office space types are generally finished with durable materials that reflect the seriousness of the judicial mandate and the dignity of the judicial system. Ambient lighting with dimmable controls and special accent lighting is typically used in Conference/Witness Waiting Rooms, and Jury Trial Rooms. Consider energy efficient lighting fixtures.
Functional / Operational
- Occupancy: The Enhanced Office space types fall into the B2 occupancy classification with sprinklered construction. The GSA acoustical class is C1 for enclosed offices and Class C2 for open offices.
Productive
- Special HVAC: Incorporate flexible, multi-zoned mechanical equipment with state-of-the-art controls and energy efficiency features. All court and judiciary-related offices must have individual HVAC controls, monitored from a central location. To control noise during all modes of operation, the systems must be provided with one or more of the following: sound traps and acoustical lining in duct work; low-velocity, low-static-pressure fan systems; and/or special low-noise diffusers.
Secure / Safe
- Increased Security: Security planning is typically factored in at the beginning of the design process and should include a comprehensive approach to operational, technical, and physical safety methods. Court components and circulation patterns require varying degrees of security therefore, each specialized room or area should be planned separately. Typically, special attention will be given to adjacency and circulation. Public circulation requires a single controlled entry, but allows free movement within the building. Restricted circulation has a controlled interior entry and is limited to judges, court personnel, and official visitors. Additionally, cybersecurity needs to be addressed as a policy and implemented through education and training of staff and employees.
Sustainable
- A holistic approach to sustainability and green building design strategies should be considered and planned for the whole building. However, individual spaces should also be designed and planned with natural daylighting, energy efficient lighting, healthy indoor air quality, and Low and/or No-VOC materials, furnishes, and finishes whenever possible. To save or reduce energy use, consider occupancy sensors, dimmable ballasts, and energy efficient task lighting. To increase occupant comfort, provide individual control of HVAC in these spaces, wherever possible.
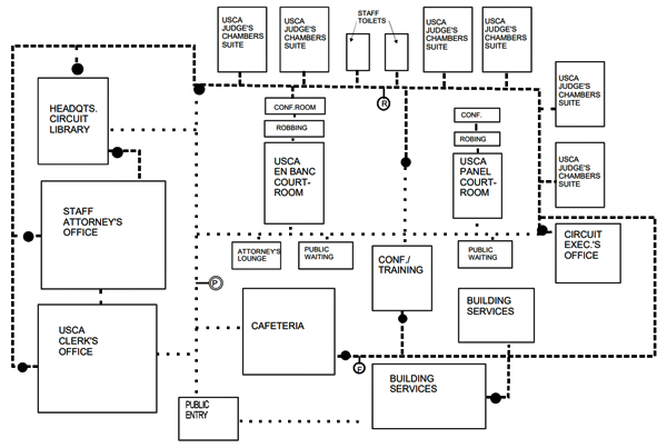
Diagram of spatial relationship, accessibility, and circulation (SRAC) in a U.S. Court of Appeals and related offices. Image courtesy of U.S. Courts Design Guide
Example Program
A sample program is provided along with three floor plans (low, mid, and high rise).
ENHANCED OFFICE
| Tenant Occupiable Areas | Per Set | SF Each | Small Courthouse | Medium Courthouse | Large Courthouse |
|---|---|---|---|---|---|
| Sr. District Courtrooms | |||||
| Witness/ Attorney Conference Room |
2 | 150 | 300 | 600 | 1,200 |
| Public Waiting Area | 1 | 400 | 400 | 800 | 1,600 |
| Equipment Storage | 1 | 100 | 100 | 200 | 400 |
| Ancillary Facilities | |||||
| Judicial Staff Toilets | 1 | 50 | 50 | 100 | 200 |
| Court Reporter/Recorder Office | 1 | 150 | 150 | 300 | 600 |
| Court Reporter/ Recorder Storage |
1 | 50 | 50 | 100 | 200 |
| Shared Work Room | 1 | 50 | 50 | 100 | 200 |
| Transcriber/Typist Workstation | 1 | 50 | 50 | 100 | 200 |
| Jury Facilities | |||||
| Jury Room Soundlock Entry | 1 | 50 | 50 | 100 | 200 |
| Juror's Toilets | 1 | 100 | 100 | 200 | 400 |
| Coat Closet | 1 | 20 | 20 | 40 | 80 |
| Trial Jury Room | 1 | 350 | 350 | 700 | 1,400 |
| Service Unit | 1 | 20 | 20 | 40 | 80 |
| Audio/Video Equipment | 1 | 10 | 10 | 20 | 40 |
| Sworn Jury Custodian | 1 | 50 | 50 | 100 | 200 |
| District Courtrooms | |||||
| Witness/ Attorney Conference Room |
2 | 150 | 300 | 600 | 1,200 |
| Public Waiting Area | 1 | 400 | 400 | 800 | 1,600 |
| Equipment Storage | 1 | 100 | 100 | 200 | 400 |
| Ancillary Facilities | |||||
| Judicial Staff Toilets | 1 | 50 | 50 | 100 | 200 |
| Court Reporter/Recorder Office | 1 | 150 | 150 | 300 | 600 |
| Court Reporter/ Recorder Storage |
1 | 50 | 50 | 100 | 200 |
| Shared Work Room | 1 | 50 | 50 | 100 | 200 |
| Transcriber/Typist Workstation | 1 | 50 | 50 | 100 | 200 |
| Jury Facilities | |||||
| Jury Room Soundlock Entry | 1 | 50 | 50 | 100 | 200 |
| Juror's Toilets | 1 | 100 | 100 | 200 | 400 |
| Coat Closet | 1 | 20 | 20 | 40 | 80 |
| Trial Jury Room | 1 | 350 | 350 | 700 | 1,400 |
| Service Unit | 1 | 20 | 20 | 40 | 80 |
| Audio/Video Equipment | 1 | 10 | 10 | 20 | 40 |
| Sworn Jury Custodian | 1 | 50 | 50 | 100 | 200 |
| Magistrate Courtroom Facilities | |||||
| Witness/ Attorney Conference Room |
2 | 150 | 300 | 1,200 | 2,400 |
| Public Waiting Area | 1 | 400 | 400 | 1,600 | 3,200 |
| Equipment Storage | 1 | 100 | 100 | 400 | 800 |
| Ancillary Facilities | |||||
| Judicial Staff Toilets | 1 | 50 | 50 | 200 | 400 |
| Court Reporter/Recorder Office | 1 | 150 | 150 | 600 | 1,200 |
| Court Reporter/ Recorder Storage |
1 | 50 | 50 | 200 | 400 |
| Shared Work Room | 1 | 50 | 50 | 200 | 400 |
| Transcriber/Typist Workstation | 1 | 50 | 50 | 200 | 400 |
| Jury Facilities | |||||
| Jury Room Soundlock Entry | 1 | 50 | 50 | 200 | 400 |
| Juror's Toilets | 1 | 100 | 100 | 400 | 800 |
| Coat Closet | 1 | 20 | 20 | 80 | 100 |
| Trial Jury Room | 1 | 250 | 250 | 1,000 | 2,000 |
| Service Unit | 1 | 20 | 20 | 80 | 160 |
| Audio/Video Equipment | 1 | 10 | 10 | 40 | 80 |
| Sworn Jury Custodian | 1 | 50 | 50 | 200 | 400 |
| Bankruptcy Courtroom Facilities | |||||
| Witness/ Attorney Conference Room |
2 | 150 | 300 | 600 | 1,200 |
| Public Waiting Area | 1 | 400 | 400 | 800 | 1,600 |
| Equipment Storage | 1 | 80 | 80 | 160 | 320 |
| Ancillary Facilities | |||||
| Judicial Staff Toilets | 1 | 50 | 50 | 100 | 200 |
| Court Reporter/Recorder Office | 1 | 150 | 150 | 300 | 600 |
| Court Reporter/ Recorder Storage |
1 | 50 | 50 | 100 | 200 |
| Shared Work Room | 1 | 50 | 50 | 100 | 200 |
Example Construction Criteria
For GSA, the unit costs for enhanced office space types are based on the construction quality and design features in the following tableDownload gsa_constr_criteria_enhcd_office.pdf . This information is based on GSA's benchmark interpretation and could be different for other owners.
Relevant Codes and Standards
The following agencies and organizations have developed codes and standards affecting the design of enhanced office spaces. Note that the codes and standards are minimum requirements. Architects, engineers, and consultants should consider exceeding the applicable requirements whenever possible:
- ICC IBC International Building Code
- PBS-P100 Facilities Standards for the Public Buildings Service, GSA
- U.S. Courts Design Guide
Additional Resources
Publications
- Administrative Office of the U.S. Courts (AOUSC)
- Electronic Courtroom/Chambers, An Interim Guide to Courtroom Technologies
- Guide Specifications for Modification/Installation of Audio Systems in United States Courthouses
- Guide to Judiciary Policies and Procedures
- Judiciary's Human Resources Manual
- United States Courthouse Design & Construction Process
- United States Courts Moving Guide
- Architectural Graphic Standards, 12th Edition by The American Institute of Architects, Dennis J. Hall. New York, NY: John Wiley & Sons, Inc., 2016.
- Building Type Basics for Justice Facilities
by Todd S. Phillips & Michael A. Griebel, New York, NY: John Wiley & Sons, Inc., July 2003.
- GSA
- Green Courthouse Design Concepts, 1997.
- PBS-P100 Facilities Standards for the Public Buildings Service, July 2018.
- Standard Level Features and Finishes for U.S. Court Facilities, October 1, 1996.
- U.S. Courts Design GuideDownload courts.pdf (Judicial Conference of the United States), 2007.
Others
- Administrative Office of the U.S. Courts (AOUSC)
- The Executive Office for U.S. Attorneys has a design guide covering all aspects of courthouse security. (Available for limited use only)
- GSA’s Courthouse Program—ensure the consistent, excellent, and cost-effective delivery of the courthouse construction program.
- The U.S. Marshals Service now has a design guide covering all aspects of courthouse security, as well as security in the Marshals Service space. (Available for limited use only)